咨询热线:
0523-84951799
18961028599
首页
关于我们
公司简介
资质证书
合作客户
产品中心
产品展示
工程案例
工程案例
行业资讯
客户留言
人才招聘
联系我们
产品分类
水过滤系统
离子交换系统
除碳器
中低压凝结水处理系统
酸碱系统
水箱及浮顶
膜处理系统系统
除尘、抑尘装置
水处理设备配件
核晶造粒软化系统
联系我们
靖江市华德环保设备制造有限公司
总部地址:江苏省靖江市经济技术开发区城北园区新一路61号
服务热线: 0523-84951799
手机:18961028599
位置:
首页
> > 产品展示
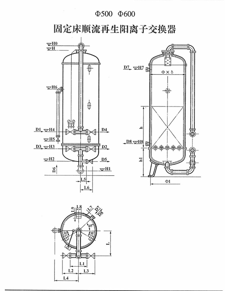
固定床顺流再生阳离子交换器
产品型号:
产品产地:
发布日期:
2021-03-06
浏览次数:
次
咨询电话:
0523-84951799
关 键 词:
分享到:
QQ空间
新浪微博
腾讯微博
更多
下一个产品
上一个产品
详细介绍
ewm